Sound Devices USBPre 2
Zweikanal-Audiointerface mit Mikrofonverstärker
Autor und Fotos: Peter Kaminski
Sound Devices ist im Bereich des Location Recording für TV und Film mit seinen Recordern und portablen Mischern ein sehr bedeutender Hersteller. Mit dem USBPre hatte man schon ein zweikanaliges Interface im Programm. Mit dem seit Anfang des Jahres 2011 verfügbaren USBPre 2 bietet man nun einen Nachfolger mit erweiterter Funktionalität.
Konzept
Das USBPre 2 ist ein Class-Compliant USB Audio Device und benötigt somit keinen Treiber und lässt sich an jeden Rechner mit Windows XP, Vista oder Windows 7 oder auch Macintosh OS X anschließen. Das Gerät wird automatisch erkannt und steht dann als Audiointerface direkt zur Verfügung. Die Spannungsversorgung erfolgt über die USB-Schnittstelle und ein Anschluß an ein passiven USB-Anschluß ist daher nicht möglich. Der benötigte Strom liegt bei 0,5 A. Eine Batteriespeisung ist nicht vorgesehen.
Das kompakte Gerät ist hat die Abmessungen 43 * 180 * 100 mm als und das Gewicht beträgt 0,5 kg.
Ausstattung
Das USBPre 2 verfügt über 24-Bit-Wandler und unterstützt Abtastraten acht bis 192 kHz mit einem Dynamikbereich (24 Bit, 22 Hz ... 22 kHz) beim A/D von 114 und D/A von 112 dB (A). Beim D/A-Wandler ist die Wortbreite fest auf 24 Bit und beim A/D lässt sie sich einstellen (8, 16 oder 24 Bit).

Der USBPre 2 verfügt über zwei elektronisch symmetrierte Mikrofoneingänge mit zuschaltbarer Phantomspeisung. Die Preamps stammen schaltungstechnisch aus der 700-Recording-Familie. Ein -15 dB Pad ist ebenfalls schaltbar. Die Eingangsimpedanz beträgt 4 kOhm. Der Mikrofoneingang verfügt weiter über ein schaltbares Hochpassfilter (80 Hz, 12 dB/Okt.) sowie einen schaltbaren Limiter, der bei -4 dBFS aktiv wird.
Weiter gibt es noch als analoge I/Os einen symmetrischen Line In (6,3-mm-Klinke) sowie Aux In (Cinch, unsymmetrisch). Das gewandelte Signal steht auch an zwei XLR-Ausgängen und einem Aux-Ausgang (Cinch/RCA) bereit. Daneben lässt sich an zwei Buchsen auch ein Kopfhörer anschließen (6,3- und 3,5-mm-Klinkenbuchse).

Das USBPre 2 ist auch mit digitalen Schnittstellen ausgerüstet. So ist es einen S/PDIF-Ein- und Ausgang mit Cinch/RCA-Buchse, sowie einen optischen Ein- und Ausgang in Form je einer TOSLINK-Schnittstelle, vorhanden.
Bedienung
Grundsätzliche Einstellungen wie Abtastrate und Auflösung erfolgen über die Systemeinstellungen des jeweilige Betriebssystem. Darüber hinaus gibt es neben den TOSLINK-Schnittstellen zwei Gummiabdeckungen unter denen sich 20 DIP-Schalter zur weiteren Konfiguration befinden. Die Funktion der einzelnen Schalter ist auf der Geräteunterseite mit einem Diagramm erläutert. Die Bedienungsanleitung kann man also getrost in Office belassen.
Über diese Miniaturschalter kann der Anwender: die 48-V-Phantomspeisung, Low-Cut-Filter, Limiter und -15 dB Pad für jeden Kanal getrennt aktivieren. Weiter gibt es einen Schalter um den Input 1 sowohl auf den rechten als auch linken Recording-Kanal aufzuschalten. Über weitere Schalter kann Mic/Line, Meter Interface oder PC, Input Select Lock und die Betriebsart für den großen Regler ausgewählt werden.

Je nach Betriebsart wird entweder der Ausgangs- oder Kopfhörerpegel mit dem Drehgeber geregelt. Über zwei kleine versenkbare Regler lässt sich einmal die Monitorbalance zwischen PC-Signal und Quelle für den Kopfhörer verändern und zudem auch der Ausgangspegel der XLR- und Aux-Ausgänge über den zweiten Regler einstellen. Über die beiden Regler ganz link auf der Front lässt sich der Eingangspegel getrennt für beide Kanäle, stufenlos ohne Rasterung, den Erfordernissen anpassen.
In der Mitte befindet sich zwei 24-stufige LED-Bargrafanzeigen bei der auch der Spitzenwert als Hold (siehe Foto oben) angezeigt wird. Die oberste LED ist der Indikator für die Limiteraktivität. Die obersten LEDs ab -12 dBFS sind gelb und die drei letzten ab -4 dBFS rot. Vier weitere LED-Indikatoren geben die Aktivität der Phantomspeisung, Pad, Hochpass und Mono-Recording an.
Über vier kleine Schalter unterhalb der Bargrafanzeigen lässt sich die Aufnahmequelle anwählen, sowie das Meter von Interface auf PC umschalten und das Kopfhörermonitoring auf mono schalten.

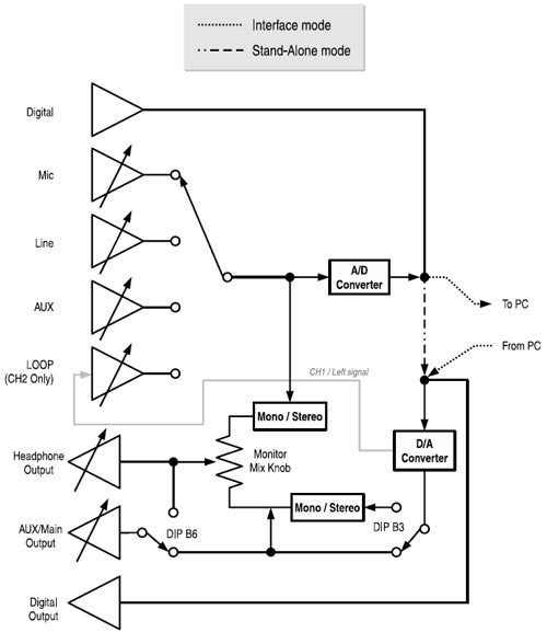
Das USBPre 2 kann auch im sogenannten Stand-Alone-Modus betrieben werden. Hierbei werden die Ausgänge des A/D-Wandlers mit den Eingängen des D/A-Wandlers verbunden und die Audio-Verbindung zum PC getrennt (siehe Grafik). Die Abtastrate in dieser Betriebsart wird dann über drei der DIP-Schalter vorgewählt.
Weiter gibt es noch einen Loop-Modus, bei dem der linke Ausgang des D/A-Wandlers auf den virtuellen Loop-Input des Kanal 2 geführt wird. Damit kann man für Test- oder Messanwendungen ein Referenzsignal auf einen Eingang legen.
Praxis
Die Bedienung ist sehr Praxisnah, sehr durchdacht und deckt alle Bedürfnisse für ein zweikanaliges Audio-Interface im Location-Recording- oder Broadcast-Bereich ab. Der eine oder andere Broadcaster würde sich zwar vieleicht AES/EBU-Digitalschnittstellen statt S/PDIF wünschen aber auch für den Reporterbereich sind die S/PDIF- und optischen Schnittstellen keine schlechte Wahl. Für den Stand-Alone-Betrieb wäre ein Batteriebetrieb, bzw. ein zum Lieferumfang gehörendes Netzgerät mit USB-Ausgang wünschenswert. Die Routing-Möglichkeiten und verschiedenen Betriebsarten tragen aber dazu bei, dass technisch auch von anspruchsvollen Anwendern keine weiteren Wünsche an das Gerät gestellt werden.
Die Verarbeitung ist durch das Metallgehäuse sehr robust. Es liegen dem Gerät vier aufklebbare Gummifüße bei. Schön wären Gummiecken, bzw. Abdeckungen an allen Kanten, die das Gerät noch robuster machen würden.
Wir haben das Interface an verschiedenen Rechnern angeschlossen und es ergaben sich im Betrieb keine Probleme. Auch das kleinste Eee PC Netbook mit unter Windows XP und Steinberg Wavelab 7 lief problemlos im Recording-Betrieb.
Klanglich kann man dem USBPre 2 nur die besten Note geben und das betrifft sowohl das Rauschverhalten als auch die hervoragende Klangqualität. Die Aussteuerung lässt sich über die feinfühligen Regler gut einstellen und dank der sehr gut ablesbaren Bargrafanzeigen auch sehr gut beurteilen (44-dB-Anzeigeumfang in 2 dB-Schritten).
Der Kopfhörerausgang ist klanglich ebenfalls für ein mobiles Gerät dieser Größe ausgezeichnet und vor allen bei Bedarf auch so laut, dass auch unter allen Außenbedingungen ein problemloses Abhören gewährleistet ist.
Fazit
Der USBPre 2 liegt bei knapp unter 900 Euro. Damit liegt er bei mobilen zweikanaligen Audiointerfaces im oberen Preisbereich aber für die gebotene Verarbeitung, Qualität und vor allem Flexibilität, noch akzeptabel. Erhältlich ist das Interface übrigens über den Fachhandel (Vertrieb Deutschland: Ambient Recording).
Die Ausstattung und Bedienung ist sehr auf den anspruchsvollen Location-Recording- und Broadcast-Sektor zugeschnitten. Was Audioqualität angeht spielt das kompakte Interface in der oberen Liga: neutraler Sound und rauscharmer Preamp - ganz auf der Linie der 700-Recording-Familie von Sound Devices. Wer in diesen Bereichen tätig ist und ein zweikanaliges Interface sucht liegt mit dem USBPre 2 genau richtig.
Würden wir Punkte vergeben, würde das USBPre 2 sicherlich 95 von 100 erhalten. Konkurrenz für die genannten speziellen Anwendungsbereiche braucht das USBPRe 2 nicht zu fürchten.
Wir selber sind von der Sound-Qualität so angetan, das wir das USBPre 2 in Zukunft selber für eigene Zwecke einsetzen werden.
How to resolve AdBlock issue? 